
測量原理:
高頻微波脈沖通過天線系統發射并接收,雷達波以光速運行,運行時間可以通過電子部
件被轉換成物位信號。一種時間延伸方法可以確保穩定和精確的測量。
即使工況比較復雜的情況下,存在虛假回波,用微處理和調試軟件也可以
識別出物位的回波。
輸入
天線接收反射的微波脈沖并將其傳輸給電子線路,微處理器對此信號進行處理,識別出
微脈沖在物料表面所產生的回波。正確的回波信號識別由軟件完成,度可達到毫米級。
距離物料表面的距離D與脈沖的時間行程T成正比: D=C×T/2 (其中C為光速)
因空罐的距離E已知, 則物位L為: L=E-D
輸出
通過輸入空罐高度E(=零點),滿罐高度F(=滿量程)及一些應用參數來設定,應用參
數將自動使儀表適應測量環境。對應于4…20mA輸出。
主要參數:
應 用:存儲或過程容器腐蝕性的液體、漿料、固體。比如:水液儲罐,酸堿儲罐,漿料儲罐,固體顆粒,小型儲油罐
測量范圍:20米
過程連接:法蘭
介質溫度:-20-150℃
過程壓力:-1.0-20bar
重 復 性 :± 3mm
精 度:< 0.1%
頻率范圍:6.3GHz
防爆等J:Exd II BT4
防護等J:IP68
信號輸出:4…20mA/HART(兩線)
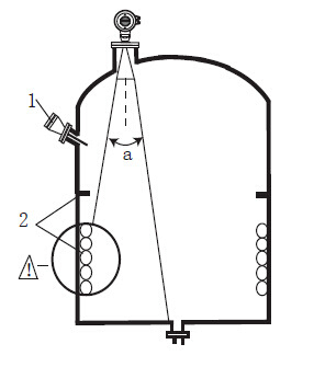
● 建議距離(1)罐體內壁至安裝短管的外壁應大于罐直徑的1/6;● 離罐壁Z小距離為300mm;● 不能安裝在入料口的上方(4)。● 不能安裝在中心位置(3),如果安裝在中央,會產生多重虛假回波,干擾回波會導致信號丟失。● 如果不能保持儀表與罐壁的距離,罐壁上的介質會黏附造成虛假回波,在調試儀表的時候應該進行虛假回波存儲。 3.2 罐內安裝
● 在 信號波束內, 應避免有如下安裝物(1):例如限位開關,溫度傳感器等。● 對稱裝置(2),如真空環,加熱線圈,擋板等等。● 如果罐內有(1)(2)干涉物件,應采用導波管進行測量。 3.3安裝選擇● 天線尺寸:天線越大,波束角越小,干擾回波將越弱。● 天線調整:將天線調整到測量位置。(見樣本第8頁)● 導波管:導波管安裝用來避免干擾回波。(見樣本第9頁)